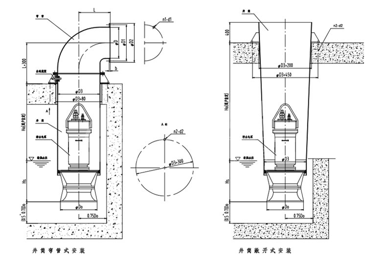
潛水立式污泥軸流混流泵鑄鐵高速大型潛水灌溉用泵
主要用途和適用范圍: ZQB 型潛水軸流泵和 HQB 型潛水混流泵是我公司在消化吸收國內技術的基礎上,與國內高等院校共同研制的新型泵類產品,它具有工程投資少,維護管理方便,運行
主要用途和適用范圍: ZQB 型潛水軸流泵和 HQB 型潛水混流泵是我公司在消化吸收國內技術的基礎上,與國內高等院校共同研制的新型泵類產品,它具有工程投資少,維護管理方便,運行

主要用途和適用范圍:
ZQB 型潛水軸流泵和 HQB 型潛水混流泵是我公司在消化吸收國內技術的基礎上,與國內高等院校共同研制的新型泵類產品,它具有工程投資少,維護管理方便,運行條件好,工作可靠性高及有利于自動化等優(yōu)點。它廣泛應用于農田排灌,工礦船塢,城市建設,電站給排水和水利工程中。
使用條件:
適用于輸送清水或物理化學性質類似于水的其它液體
被輸送介質溫度為:40℃
被輸送介質 PH 值: 5~9
潛水深度為: 10m
每兩次啟動間隔時間不小于 10 分鐘。





聯系電話
微信掃一掃